中石化持股,山东优易行智能科技有限公司成立

2026-02-27 13:33:46 来源:中国石油和化工
字号: 默认 超大 | 打印  举报该信息

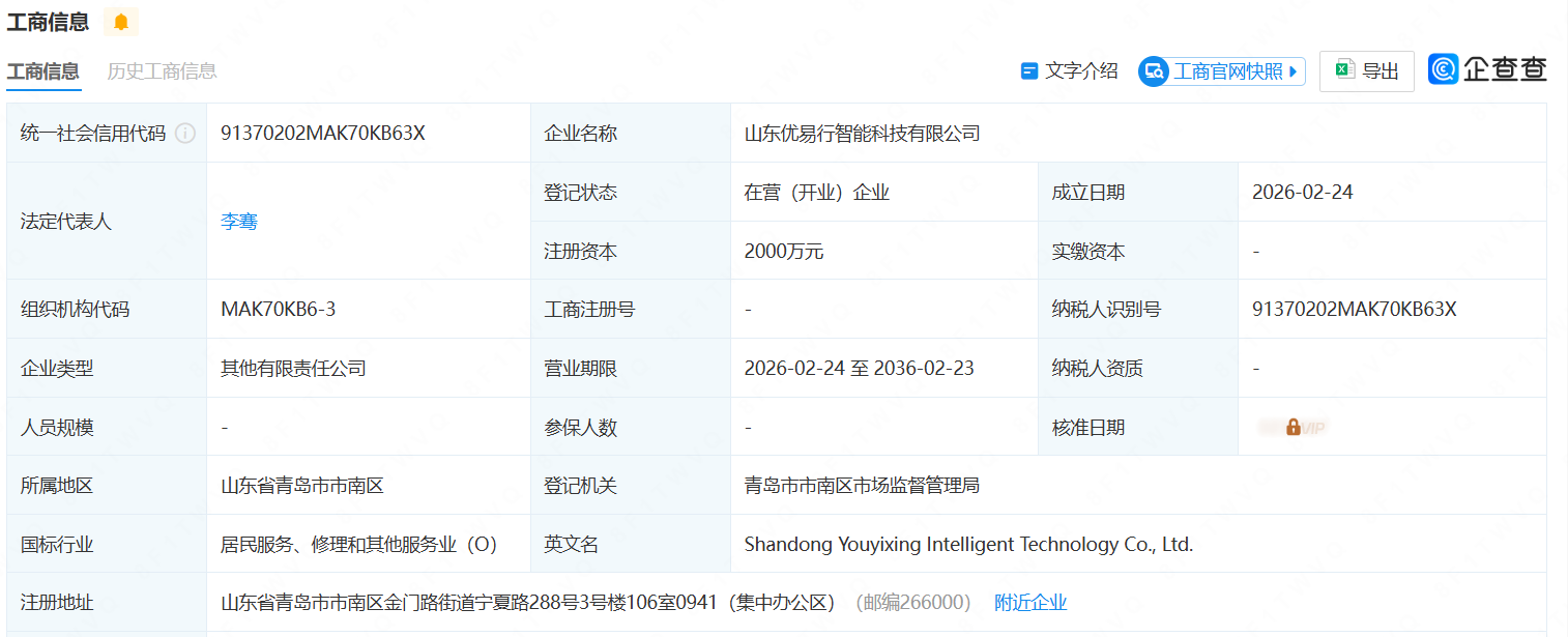
近日,据企查查官网消息,山东优易行智能科技有限公司成立。

该公司注册资本2000万人民币,专注于可穿戴智能设备销售、计算机软硬件及辅助设备零售以及电子产品销售领域,致力于为消费者提供智能科技产品和服务。公司由中驰车之谷互联科技(青岛)有限公司、中国石化销售股份有限公司分别持股51%、49%。